
客戶案例/Customer Case
新聞中心/NEWS
-
重力控制裝置
森朗科技「重力控制裝置」開啟空間力場精準調控先河,重力,不再是不可逾越的物理法則。森朗科技以量子級精度重構重力場控制邏輯...MORE+
-
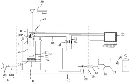
森朗工業側線試驗裝置
世紀森朗公司工業側線裝置,工業側線固定床裝置,焦油提煉燃油試驗裝置,合成氣甲烷化工業側線裝置,羰基合成工業側線裝置,烷基...MORE+
-
2025年有機固廢處理與資源化利用研討
本次大會由中國環境科學學會、同濟大學、清華大學、東華大學主辦、西安建筑科技大學、西安交通大學等其他23所大學聯辦。 全國...MORE+
-
第六屆全國精細化工青年學者會議
關于精細化工學科綜合性強、行業技術密集度高,產品種類多、用途廣泛,直接服務于國民經濟的諸多行業和高新技術產業的各個領域,...MORE+

































